hand radio diagram

Patent EP1814338B1 - A mobile radio communication method and a receiver. 18 Pics about Patent EP1814338B1 - A mobile radio communication method and a receiver : Second Hand Basic Radio Principles & Technology - radioworld, Patent US5189734 - Cellular radio system - Google Patents and also Patent US5189734 - Cellular radio system - Google Patents.

Patent EP1814338B1 - A Mobile Radio Communication Method And A Receiver

Patent EP1814338B1 - A mobile radio communication method and a receiver www.google.com.au

patents

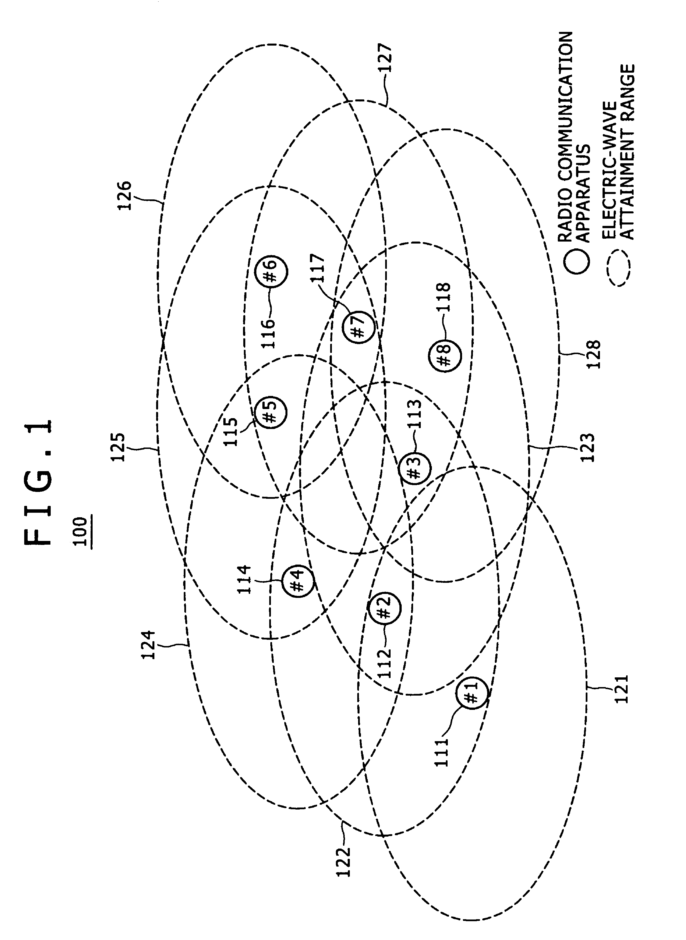
Patent US7974256 - Radio Communication System, Radio Communication

Patent US7974256 - Radio communication system, radio communication www.google.com

patents

Second Hand Basic Radio Principles & Technology - Radioworld

Second Hand Basic Radio Principles & Technology - radioworld www.radioworld.co.uk

radio basic second hand principles technology equipment

Masat-1 » Technical Details

Masat-1 » Technical details cubesat.bme.hu

masat cubesat satellite block diagram blockdiagram

Anatomy Of A Radio_Page_3 - RotorDrone

Anatomy of a Radio_Page_3 - RotorDrone www.rotordronepro.com

Ford F-550 (2017 - 2018) - Fuse Box Diagram - Carknowledge.info

Ford F-550 (2017 - 2018) - fuse box diagram - Carknowledge.info www.carknowledge.info

fuse f550 relay f350 carknowledge ampere

Opel Movano (2008) - Fuse Box Diagram - Auto Genius

Opel Movano (2008) - fuse box diagram - Auto Genius www.autogenius.info

fuse box opel diagram movano vauxhall 2008 instrument panel genius autogenius info

12V 1A SMPS Power Supply Circuit Design On PCB | Power Supply Circuit

12V 1A SMPS Power Supply Circuit Design on PCB | Power supply circuit www.pinterest.com

smps circuit supply power 12v pcb 1a diagram circuitdigest voltage diy

2014 Chevy Spark Fuse Box Diagram

2014 Chevy Spark Fuse Box Diagram coveredinsparkles.blogspot.com

sprinter w163 e350 mercedesforum mercede u2022 diagrams zekeringenkast geschakeld 12v

Patent US7873389 - Radio Base Station Apparatus, Radio Terminal

Patent US7873389 - Radio base station apparatus, radio terminal www.google.co.uk

patents

Fuse Box Diagram Peugeot Bipper And Relay With Assignment And Location

Fuse box diagram Peugeot Bipper and relay with assignment and location fuseandrelay.com

bipper

Patent US5189734 - Cellular Radio System - Google Patents

Patent US5189734 - Cellular radio system - Google Patents www.google.com.mx

patents

Patent US6014563 - Radio System For A Closed User Group - Google Patents

Patent US6014563 - Radio system for a closed user group - Google Patents www.google.com.mx

patents

Traffic Baton With Bulb Or LED Flasher - Circuit Scheme

Traffic Baton with Bulb or LED Flasher - Circuit Scheme circuitscheme.com

flasher baton

Patent US5257405 - Method And System For Setting Up LOS-radio

Patent US5257405 - Method and system for setting up LOS-radio www.google.de

bilder patentsuche

Styling: Running Light Wiring Problems (LED Strip) - The FIAT Forum

Styling: Running Light Wiring Problems (LED Strip) - The FIAT Forum www.fiatforum.com

fiat wiring light diagram punto problems running led strip fiatforum

PPT - Emergency Communications PowerPoint Presentation, Free Download

PPT - Emergency Communications PowerPoint Presentation, free download www.slideserve.com

communications emergency anatomy basic radio ppt powerpoint presentation antenna cert microphone ptt push speaker volume switch talk button

Patent US20120250546 - Method Of Evaluating The Quality Of Radio Links

Patent US20120250546 - Method of evaluating the quality of radio links www.google.de

bilder patentsuche

Ford f-550 (2017. Sprinter w163 e350 mercedesforum mercede u2022 diagrams zekeringenkast geschakeld 12v. Bilder patentsuche